5軸CNCマシンが 非常に複雑な部分を信じられないほどの精度で作成できること理解することは をご存知ですか? 5軸CNC座標系を 、この機能のロックを解除するための鍵です。
現代の製造では、CNCマシンが航空宇宙、自動車、医療などの業界全体で部品を生産する上で重要な役割を果たしています。
この投稿では、 を探ります。 5軸CNC座標系がどのように 機能するか、そしてそれが正確で効率的な生産にとって非常に重要な理由

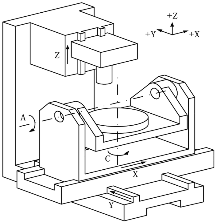
5 軸CNC座標系は、 CNCマシンが5つの異なる軸に沿って切削工具を移動する能力を指します。これにより、複雑な部品の正確な製造が可能になります。通常、3つの軸で動作する従来のCNCシステムとは異なり、 5軸システムに は2つの追加の回転軸が含まれ、柔軟性と精度が向上します。
x 、y、z 軸は、3つの主要な線形運動を表します。
X軸:ツールを左に移動します。
Y軸:ツールの前面を後ろに移動します。
Z軸:ツールを上下に移動します。
これらの軸は、基本的な機械の動きに不可欠であり、より複雑なカットの基盤です。
5軸CNCシステム では、このツールは線形に移動できるだけでなく、2つの追加軸を中心に回転することもできます。
A軸: X軸 の周りにツールを回転させます.
B軸: Y軸 の周りにツールを回転させます.
この回転動きにより、ツールはさまざまな角度からワークピースにアプローチすることができ、ワークピースを再配置せずに複雑なカットを可能にします。
5軸CNCシステム では、 x、y、z、a、およびbの5つの軸すべてが一斉に機能します。マシンは、ツールが固定されたままでいる間にワークピースを回転させることができ、複数の角度からの詳細なカットが可能になります。この相乗効果は、3つの軸のみで達成するのが難しい複雑な形状と部分を作成するために重要です。
5 軸CNCシステムは 精度を大幅に改善し、非常に詳細なカットと複雑なジオメトリを可能にします。切削工具を5つの軸に沿って移動することにより、よりシンプルな3軸システムで発生する可能性のあるエラーが減少します。この機能は、タービンブレードや医療インプラントなどの緊密な許容範囲を必要とする複雑な部品を操作する場合に特に重要です。
さまざまな角度からワークピースにアプローチする機能により、 5軸システムは カットをより正確に保証し、再加工の必要性を最小限に抑え、全体的な部分品質を改善します。
5軸システム の重要な利点の1つは、 セットアップ時間を短縮できることです。従来の機械加工では、複雑な部品が手動で再配置するために複数のセットアップを必要とすることがよくあります。ただし、 5軸機は ワークを動かすことなくマルチアングルカットを実行し、時間のかかる調整の必要性を減らすことができます。
セットアップが少ないと、効率が向上し、生産時間が速くなります。これは、航空宇宙や自動車製造などの重要な要因である業界では不可欠です。
5 軸CNC座標系は、 複数の角度と高精度を必要とする複雑な部品を加工するのに最適です。 などのコンポーネントは、 Gears , Aerospace部品や 医療用ツール 複雑な形状と厳しい許容範囲を処理する機械の能力の恩恵を受けます。このシステムにより、部品を再配置せずにさまざまな角度から切断し、精度を改善し、生産時間を短縮できます。
たとえば、 航空宇宙産業のタービンブレードのような部品には、 5軸CNCマシン で簡単に達成できる正確なカットが必要です。.
5軸CNCマシンは 、精度と複雑な形状が必要な金型とツールを作成するために不可欠です。カビ製造では、ワークを複数の角度で回転させる機能により、アンダーカットや詳細なテクスチャなどの金型に複雑な特徴を追加できるようになります。 自動車 5軸システムは、 やプラスチックの射出成形などの産業向けに高品質で正確な金型を生産する能力を高めます。
5 軸CNCシステムは、 プロトタイピングとカスタマイズでよく使用されるため、メーカーはカスタムパーツをすばやく作成できます。 1回限りの部品であろうと小規模な生産が実行されるかどうかにかかわらず、 の柔軟性は、 5軸機 正確な仕様を満たすプロトタイプを作成するのに役立ちます。などの産業は、 医療 や 自動車 部品を迅速に設計および修正するこの能力から大きな利益を得ています。
5軸機械加工 の利点を最大化するには、正確なセットアップを確保することが不可欠です。ここにいくつかのヒントがあります:
精度を確保するために、マシンのキャリブレーションを 定期的に確認してください。
適切な固定具を使用して 部品を確保し、エラーを最小限に抑えます。
CAD および CAMソフトウェア を使用して 切断パスを最適化して、 サイクル時間を短縮し、精度を向上させます。ソフトウェア統合は、効率的なツールパスを生成し、マシンがスムーズに実行されるようにするのに役立ちます。
正確なセットアップと効率的なマシンプログラミングに焦点を当てることにより、 のパワーを完全に活用します 5軸CNCシステム.
選択した資料は、機械加工の結果に大きく影響する可能性があります。 の一般的な材料は 5軸CNC加工 次のとおりです。
金属:アルミニウム、鋼、チタンは、一般的に高強度部品に使用されます。
プラスチック:ABSやPVCのようなポリマーは機械加工が簡単ですが、それでも精度を高めています。
複合材料:炭素繊維のような材料には、特殊なツールが必要ですが、軽量の高性能部品に最適です。
適切な材料を選択すると、より滑らかな切断、ツールの寿命が長く、部分品質が向上します。
5軸CNCマシンを 操作するには、 特別なスキルが必要です。適切なトレーニングが重要です:
マシンの機能 と制限を理解する。
CADモデルを解釈し 、それらを CAMソフトウェアに変換します.
複雑なセットアップを安全に処理し 、安全基準を確保します。
トレーニングにより、オペレーターはエラーを最小限に抑え、効率を向上させながら、マシンから最良の結果を得ることができます。
3軸 と 5軸CNCマシン の主な違いは、 動きを制御する軸の数にあります。
3軸CNC : x、y、zの3つの軸に沿って切削工具を移動します。
5軸CNC :3つの線形軸に加えて、2つの 回転軸 ( AとB )が含まれ、ツールが複数の角度を回転およびアクセスできるようにします。
この追加の回転動きにより、 5軸CNCマシンは はるかに複雑なカットを行い、複雑な形状を処理し、複数のセットアップの必要性を減らすことができます。これは、航空宇宙や医療などの産業にとって不可欠であり、部品には高精度と複数の角度が必要です。
4軸CNCマシンには、 3軸機 と比較して1つの追加の回転軸があります。 4番目の軸は通常、 X軸 (A軸)の周りを回転し、切削工具が静止したままでいる間にワークピースを回すことができます。 4軸CNC :3軸マシンよりも柔軟性が高くなりますが、他の角度からのカットのためにワークピースを再配置する必要があります。 5軸CNC : y軸 の周りを回転する追加の b軸を追加することにより、さらに多くの動きを提供します。これにより、機械加工中にワークを再配置する必要がなくなり、より複雑な部分をより効率的にすることができます。
5軸のCNCマシンは より汎用性が高く正確です が、 4軸機は 通常、より複雑でないデザインの部品にはより手頃な価格で適しています。

ソフトウェアとハードウェアの両方の進歩のおかげで、 5軸CNC マシンは急速に進化しています。 CAMソフトウェアはより直感的になり、オペレーターが複雑なカットを簡単にプログラムし、マシンのパフォーマンスを最適化できるようになりました。一方、モーター、センサー、および冷却システムのハードウェアの改善により、マシンがより速く、より正確で、エネルギー効率が高くなりました。
自動化とAIは、CNC加工の将来においても成長している役割を果たしています。 AI駆動型システムは、機械加工プロセスをリアルタイムで分析および適応させ、効率を向上させ、エラーを減らすことができます。自動化により、ライトアウトの機械加工が可能になります。つまり、機械は自律的に動作し、生産性をさらに高め、人件費を削減できます。
RBTインテリジェント機器 では、これらの技術的進歩の最前線にいます。 CNC機械加工業界で24年以上の経験があるため、当社の最先端の5軸CNCマシンは、航空宇宙、自動車、医療などの産業のニーズを満たすように設計されています。
5軸CNCシステム の将来は、 現代の製造を大幅に変化させます。の継続的な改善により 材料と機械機能 、これらのシステムはより複雑な設計を処理し、より正確な部品を作成できます。の革新により 複合材料と軽量合金 、以前は不可能またはコストがかかっていた高性能部品を生産することが可能になりました。
5軸機 が非常に複雑なコンポーネントを生産する能力は、 航空宇宙、医療機器、自動車などの産業に永続的な影響を与えます。マシンがよりスマートになり、より能力が高まるにつれて、プロトタイピングの高速化、カスタムパーツの生産、大量の製造が可能になり、産業が設計と生産にアプローチする方法を再構築します。
5 軸CNC座標系は、 精密機械加工において重要な役割を果たします。比類のない提供します。 精度, 効率と、 さまざまな業界で複雑なカットを有効にすることで、パーツの生産の新しい可能性を開きます。5 汎用性を 軸CNCシステムが ビジネスを強化する方法を探ることをお勧めします。
詳細については、 RBT に連絡するか、 5軸CNCマシンのデモをリクエストしてください.
A: などの産業は、 Aerospace , Automotive , Medicalや Electronics 複雑で高精度の部品を処理する能力により、 5軸CNCマシン から大きな恩恵を受けます。
A: 5軸CNCマシンは、 金属 プラスチック, や複合 材料を含む幅広い材料を処理できるため、さまざまな業界に汎用性があります。
A: タービンブレードの, エンジンコンポーネントや 医療インプラントなど、複雑な幾何学と複雑なカットを備えた部品は、 5軸の機械加工 に適しています。.
A:一般的な課題には、 セットアップの複雑さ, マシンプログラミングと、 効率と部分の品質に影響を与える可能性のある オペレータースキル要件が含まれます。
A: 5軸CNCシステム により、複数の角度からの削減、エラーの削減、 精度の向上、および機械加工中の部品再配置の必要性が排除されます。